Archivos Mensuales: mayo 2023

¿Cuál es la función de la Bomba de Vacío?

Conocer el funcionamiento de estos dispositivos permitirá extraer con éxito los gases y sustancias contaminantes de las tuberías de los equipos de refrigeración y aire acondicionado, lo cual ayudará a reducir la presión del sistema.

Su funcionamiento se define por la velocidad en el bombeo y la cantidad de gas evacuado por unidad de tiempo. Las principales características de estos equipos son la presión mínima de entrada y el tiempo necesario para alcanzar dicha presión. Ambos factores no dependen necesariamente del tipo de bomba, sino de la tubería a evacuar.

Proceso de alto vacío
Lograr un alto vacío en un sistema de refrigeración utilizando una bomba es la única forma de asegurarse de que éste se encuentra completamente seco, sin gases no condensables y fugas. El propósito de hacer el vacío es remover los gases no deseados que crean presión en el sistema como:

  • Humedad
  • Nitrógeno
  • Argón
  • Dióxido de carbono presente en el aire que respiramos

Estos gases tienen puntos de ebullición tan bajos que, para cualquier condición de trabajo que el sistema de refrigeración pudiera tener, permanecerán en forma de gas. Asimismo, son incapaces de condensarse dentro del equipo, a diferencia de los refrigerantes. Al no poder realizar esta acción ocupan espacio dentro del condensador, lo cual evita que se libere el calor que transporta el gas refrigerante. Esto tiene un grave impacto en las condiciones de funcionamiento del sistema, lo que provoca:

  • Alto consumo de energía
  • Alta temperatura en la descarga del compresor, que además hace que los refrigerantes halogenados pierdan su estabilidad térmica
  • Alta temperatura en el lubricante hasta que se colapsa
  • De cada 10 compresores que fallan en campo, 6 o 7 lo hacen por funcionar en las condiciones antes descritas, en promedio

La humedad también tiene efectos devastadores en el sistema de refrigeración:

  • Formación de hielo en la válvula de expansión, en el tubo capilar y en el evaporador
  • Corrosión
  • Partes internas del compresor se cobrizan
  • Daño químico en el aislante del motor del compresor y a otros componentes del sistema
  • El lubricante se hidroliza
  • Formación de lodos en el sistema

El vacío es un proceso que debe ejecutarse cada vez que tenemos que abrir el sistema de refrigeración o de aire acondicionado. La bomba de vacío elegida para ello tiene que ser de doble estado, para poder llegar a los vacíos adecuados:

  • 500 micrones para lubricante alquilbenceno
  • 250 micrones para lubricante polioléster

Estas lecturas deben llevarse a cabo con un vacuómetro electrónico y no con el manómetro de baja presión del manifold de servicio.

La mejor selección
Las bombas de vacío se eligen tomando como referencia las toneladas de refrigeración del sistema, a razón de 7 toneladas por cada cfm (pie cúbico por minuto) de la bomba. Es decir, una de 4 cfm tiene la capacidad de deshidratar un sistema de 28 toneladas de refrigeración. El tiempo que toma hacer vacío varía según la altura sobre el nivel del mar a la que se trabaje, la temperatura ambiente a la que está expuesto el sistema, la longitud, qué tan húmedo está el sistema y el diámetro de las mangueras.

Si utilizamos las mangueras de ¼” que tienen los manómetros de servicio estaremos haciendo vacío a una velocidad de 1.7 cfm, aunque nuestra bomba sea de 4 cfm. Si queremos utilizar toda la potencia, entonces es necesario emplear una manguera, cuyo diámetro interior sea idéntico al puerto de aspiración más ancho de la bomba. Además de las anteriores, se puede recurrir a la manguera de    ” de goma, o también usar una manguera metálica de acero para hacer vacío.

Para alcanzar un correcto vacío, ASHRAE recomienda evacuar a menos de 1,000 micrones, y una vez aislado, el sistema no debe subir por encima de los 2,500 micrones durante varias horas.

Mantenimiento
Cada bomba de vacío es diferente y cuenta con características especiales; sin embargo, todas necesitan mantenimiento y limpieza. Una que esté constantemente en uso necesitara de mayor atención.

Las inspecciones periódicas se deberán hacer cada bimestre, o por lo menos anualmente, según la clase y el uso de servicio. Mientras la bomba tenga un uso periódico, el mantenimiento será más frecuente. La revisión tendrá que ser completa y deberá incluir un chequeo de las partes que giran y las estacionarias, así como los componentes que se encuentran expuestos a los daños causados por la corrosión.

Es necesario estar al pendiente del nivel de aceite que marca en el cárter, ya que el aumento provocará un mal funcionamiento y la saturación de los filtros coalescentes.

Para verificar que la bomba funcione correctamente, ésta deberá estar en marcha y en vacío. Además, es necesario cambiar el aceite especial cada 1,000 horas o cuando pierda el color original.

En caso de que aspire constantemente vapores ácidos durante su funcionamiento, es importante que el cambio sea más seguido. Si no se realiza constantemente, el aceite corroerá su interior.

Para hacer un lavado interno de la bomba, es indispensable aplicar aceite limpio e introducirlo lentamente por la aspiración. En tanto que, al desarmarla, hay que tomar en cuenta los siguientes puntos:

  1. La tubería auxiliar debe desconectarse sólo en los puntos en los que sea necesario para retirar una parte, excepto cuando se tenga que desmontar la bomba de la base
  2. Después de haber desconectado la tubería, debe amarrarse un trapo limpio en los extremos o aberturas del tubo para evitar la entrada de cuerpos extraños
  3. Emplear siempre un extractor para quitar el acople del eje
  4. Las camisas del eje poseen roscas para apretarle en sentido contrario a la rotación del eje

Después de desarmar la bomba
Antes de hacer la inspección, hay que limpiar las partes minuciosamente. Los residuos gomosos y espesos pueden removerse a vapor. Los depósitos de sustancias extrañas se eliminan por medio de un chorro de arena, trabajo que se realiza cuidadosamente para que no forme huecos ni dañe las superficies labradas de la máquina.

Reensamblaje
Las tolerancias entre las partes giratorias y las estacionarias son muy pequeñas y debe manipularse con el mayor cuidado para ensamblar adecuadamente sus partes, a fin de conservar estas tolerancias.

El eje debe estar completamente recto y todas las partes absolutamente limpias. Un eje torcido, mugre o lodo en la cara del eje impulsor, o sobre la camisa de un eje puede ser causa de fallas o daños en el futuro, por lo que hay que estar atentos para prevenir o solucionar estos problemas.

Los impulsores, las camisas del espaciador y las del eje constituyen un ensamblaje resbaladizo bastante ajustado, por lo que deberá aplicarse una pasta delgada de aceite al ensamblar las partes del mismo.

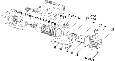
Componentes externos

  1. Carcasa de aluminio liviano y duradero
  1. Mango con cubierta plástica para evitar deslizamiento
  2. Puerto de acceso para llenado de aceite
  3. Válvula de drenado en la parte inferior para fácil limpieza y cambio de aceite
  4. Base de metal con caucho para asegurar estabilidad
  5. Aletado para disipar el calor
  6. Mirilla de cristal para indicar el nivel de aceite
  7. Válvula de cierre rápido
    1. Cierre rápido a ¼” de vuelta
    1. Aísla la bomba del sistema que se está probando por si tiene fugas
    1. Incluye puertos de ¼”, 3/8” SAE y adaptador 1/2” ACME
    1. Presente en los modelos: VA-15N, VA-30N, VA-50N, VA-80N, VA-100N y VA-120N
  8. Puerto de descarga vapor

Componentes Externos Bomba De Vacío

Componentes internos

  1. Cartucho con rodamiento que reduce las altas temperaturas y extiende la vida útil
    1. Filtro para prevenir el paso de partículas de aceite
    1. Partes maquinadas y ensambladas de manera precisa para un vacío profundo
    1. Tornillos que ensamblan el mecanismo de vacío para ajuste perfecto
    1. Protector térmico interno

Componentes Internos Bomba De Vacío

Protector Térmico Interno

  1. Tornillo cruzado
    1. Cubierta de ventilador
    1. Ventilador
    1. Cubierta del motor
    1. Cojinete
    1. Tornillo cruzado
    1. Rotor de motor
    1. Fuente de alimentación
    1. Cables de alimentación eléctrica
    1. Cojinete
    1. Interruptor centrífugo
    1. Boquilla aislante
    1. Cubierta plástica del mango
    1. Tuerca
    1. Mango
    1. Capacitor
    1. Cubierta de ensamble
    1. Casco de motor
    1. Tornillo
    1. Cubierta de caballete
    1. Puerto de llenado de aceite
    1. Sellador
    1. Puerto de entrada
    1. Caballete
    1. Cuerpo de bomba

25-1. Aspa rotatoria

25-2. Aspa rotatoria de resorte

  • Tablero del casquillo
    • Entrada de vacío
    • Cárter de aluminio
    • Cristal de visibilidad
    • Tapa de aceite
    • Sellador
    • Tornillo
    • Sellador
    • Tornillo
    • Pies de hule
    • Tornillo
    • Base

Referencias:

Danahé San Juan y Marco Antonio Dueñas (2018, enero 17). La bomba de vacío. Cero Grados Celsius.

La mayoría de nosotros somos entendemos la utilidad de una tabla de presión-temperatura en nuestro trabajo, sin embargo no todos logramos entenderlas del todo. Es por eso que hoy explicaremos los conceptos de: deslizamiento o glide, punto de rocío y punto de burbuja.

2

La mayoría de los técnicos en refrigeración y aire acondicionado somos conscientes de la utilidad que tiene una tabla de presión contra la temperatura a la hora de hacer nuestro trabajo, sin embargo, no todos logramos entender la forma correcta de leerlas. Es por eso que hoy nos hemos dado un tiempo para explicar los conceptos: punto de rocío y punto de burbuja, además de las principales diferencias entre los refrigerantes puros y las mezclas.

En los refrigerantes más comunes, la temperatura del serpentín puede ser leída a partir de la escala de temperatura que se muestra en el indicador y calibrador, facilitando de esta forma su medición; sin embargo, no todos los refrigerantes tienen esta función, existen algunos donde la tarea se vuelve más complicada a causa del deslizamiento de temperatura.

Este deslizamiento de temperatura es la que ayudará a determinar la forma que tomará la tabla de presión contra la temperatura. Por esto es necesario revisar de manera inmediata los principales conceptos de este tema:

  • El desplazamiento ocurre a partir de que los distintos gases que componen la mezcla del refrigerante poseen una amalgama de temperaturas de ebullición lo cual genera una diferencia entre las composiciones de la fase líquida y la de vapor dentro de un sistema cerrado.
  • A causa de esta diferencia en la temperatura, los gases más volubles suelen evaporarse primero haciendo que la temperatura de ebullición de la fase líquida vaya en aumento cada vez que se evapora más el producto.
  • La temperatura de evaporación promedio se encuentra entre la temperatura en la que el refrigerante empieza a hervir, hacia la entrada del dispositivo de expansión, y en la que deja de hervir en la parte final del evaporador.
  • Un dato más sobre el deslizamiento de temperatura es que es usado para comparar los puntos de ebullición de cada refrigerante obteniendo de esta manera la misma temperatura promedio para el serpentín.
  • Otro dato sobre el deslizamiento es que en el condensador sucede lo mismo que en el evaporador, aunque el proceso es revestido a medida que los componentes se condensan a distintas escalas tanto en las entradas como en las salidas.
  • Por otro lado, el punto burbuja trata sobre la temperatura donde aparece la primera burbuja de ebullición, mientras que en el punto de rocío ocurre lo contrario: el vapor se empieza a condensar.

Para entender de manera gráfica los conceptos, se muestran a continuación dos diagramas que representan la evaporación/Condensación de un compuesto puro y una mezcla.

Para un componente puro, se puede observar un punto donde su vapor empieza a cambiar a estado líquido, o cuando ese líquido cambia a vapor. Mientras sucede este cambio, la temperatura se mantiene constante. Lo anterior se debe a que la energía requerida para realizar el cambio de una fase a otra se gasta en su totalidad, evitando de esta forma los cambios en la energía interna del compuesto.

Como se puede observar en la gráfica para una mezcla zeotrópica, al ser primero el cambio de estado de los compuestos altamente volátiles, la temperatura durante el proceso va en aumento hasta llegar a la evaporación o condensación en su totalidad.


¿Tienes alguna duda adicional que no hayamos resuelto en esta publicación? Escríbela por favor en los comentarios al final de esta publicación, o si lo prefieres contáctanos en nuestro FacebookTwitterGoogle Plus o canal de YouTube.

En Quimobásicos nos interesa mucho tu opinión, ya que nos ayuda a brindarte un mejor servicio, por favor no dudes en hacernos saber cualquier comentario, critica o sugerencia que tengas sobre la empresa, los productos de nuestras marcas Solstice® y Genetron®, o el blog mismo.

Capacidad y Eficiencia en la cadena del frío❄️, los dos factores más importantes en el ahorro de energía.

Actualmente los refrigerantes desarrollados como sustitutos pueden tener una pérdida de capacidad que no es cuantificada, generalmente solo hacen cambios sin dar importancia en estos factores:  capacidad y eficiencia que nos llevan a un ahorro de energía y por consecuencia a un ahorro monetario. Las alternativas actualmente son varias, incluso existen refrigerantes que por sus propiedades termodinámicas solamente son para sistemas nuevos de alta capacidad y eficiencia. 

La capacidad de enfriamiento es la cantidad de calor extraído del espacio por refrigerar y se mide en Btu/h o en toneladas de refrigeración que son las unidades más conocidas y utilizadas, la capacidad en toneladas de refrigeración de un sistema es equivalente a congelar 1 tonelada de agua líquida a 0 °C (32 °F) en hielo a 0 °C en 24 h será 1 tonelada y si lo queremos ver en Btu/h (Unidades térmicas Británicas por hora) serían igual a un valor 12,000.

La eficiencia por otro lado la podemos expresar de una manera muy sencilla como la cantidad de calor absorbida de donde la queremos, entre la cantidad de energía utilizada para hacer trabajar el compresor, un sistema de refrigeración debe garantizar la mayor cantidad calor extraído con la menor cantidad de potencia utilizada por el compresor.

Una vez que conocemos estas dos variables podemos iniciar a revisar el sistema para evaluar si se encuentra trabajando de acuerdo a lo requerido.

Cada refrigerante o mezcla de refrigerantes tiene propiedades que son únicas un R-22 tienen propiedades diferentes a un R-134a o a cualquier mezcla y esas propiedades son las que se utilizan para diseñar los sistemas tanto de refrigeración como de aire acondicionado, y que su  funcionamiento sea a su máxima eficiencia,  pero si nosotros no consideramos correctamente  esas variables (capacidad y eficiencia), si es un Aire acondicionado debe tener la capacidad de extraer el calor en función del área de la habitación, personas que normalmente la ocupan, etc; en el caso de refrigeración se debe considerar la temperatura de trabajo, el área, la cantidad de material y la rotación a mantener en esas condiciones, etc., tendremos un mayor gasto en a energía , y por otro lado, si no se hace una buena instalación y un buen mantenimiento de limpieza periódico, también nos llevara a mayores gastos de energía y por lógica a que la factura de consumo de electricidad sea alto.

En el caso de los refrigerantes actualmente se está buscando que sean cada vez amigables a medio ambiente mediante la sustitución de los actuales en equipos existentes, pero también nos tenemos que asegurar que cumplan con la capacidad y eficiencia que requerimos, asegurándonos que no se incrementen los consumos de energía, revisa las capacidades de los diferentes dispositivos del sistema para que ajustarlos y que trabajen a su máxima eficiencia.

No olvides revisar las propiedades de los refrigerantes en las tablas de presión-temperatura que encontraras en nuestra página web.

¿Tienes dudas adicionales y que no hayamos resuelto en este artículo? Por favor deja un comentario con la duda al final de la publicación, o si gustas puedes contactarnos en nuestras redes sociales de FacebookTwitter  o YouTube.

En Quimobásicos nos interesa mucho saber tu opinión sobre nuestras publicaciones, ya que con ello nos ayudas a mejorar continuamente. No dudes en dejarnos tu comentario, crítica o sugerencia que tengas sobre la empresa, los productos Genetron o sobre nuestros contenidos.

La humedad 💧 es uno de los problemas mas comunes en los sistemas de refrigeración, aire acondicionado estacionario y automotriz, pudiendo provocar numerosos problemas, lee más sobre ello aquí 👉🏻

QUIMOBASICOS-Posts-MAR_5

La Humedad es uno de los problemas que debemos enfrentar, ya sea en los sistemas de refrigeración, aire acondicionado estacionario y aire acondicionado automotriz. En algunos sistemas o equipos se tiene instalado en las tuberías accesorios como protecciones o sensores, los cuales actuarán para proteger el equipo, como el presostatos de baja presión, accesorio que tiene como función principal de proteger al sistema si tuviera baja presión de succión del refrigerante, evitando así que el equipo siga operando y pueda succionar la humedad al sistema.
(más…)